Teleplan Forsberg
製品のお問い合わせ
光ファイバーリンクシステム
- カテゴリー
-
- GPS・GNSS
- 光ファイバーリンクシステム
Teleplan Forsberg
- データシート
- RVL-1 カタログ
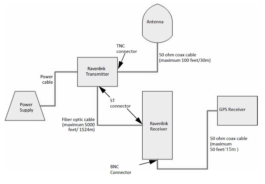
RVL-1は光ファイバーによるマルチGNSS信号延長システムです。
周波数範囲は800-1,800MHzですので各種GNSS(GPS、GLONASS、GALILEO、BEIDOU、SBAS、L-BAND)に対応し、1,524mまでの延長を可能にします。
・GNSSアンテナからの長距離の伝送分配器
・伝送時の信号ロスが少ない
・絶縁ケーブルのため優れた耐雷性
・電磁干渉、無線周波数干渉の影響が少ない
・銅線ケーブルに比べローコスト
・特許取得(US8032031 B2)
- RVL-1 送信機
・GNSSアンテナ要件:TNCコネクタ、利得34dB +6/-3dB、電源5VDC(最小8mA)
・周波数帯域:800-1,800MHz
・電源:2 pin 12-24V ACまたはDC
・コネクタ:入力TNC、出力STタイプ光ファイバコネクタ
・環境:動作温度-40~+70℃、湿度0~100%
・ディレイ:15ns
- RVL-1 受信機
・周波数帯域:800-1,800MHz
・電源:5~12VDC@85mA(GNSS受信機から供給)
・コネクタ:入力STタイプ光ファイバコネクタ、出力BNC
・環境:動作温度0~+50℃、湿度0~95%結露無きこと





